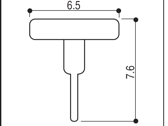
YKKビル用網戸の虫除けゴムです。
現物表示 出荷単位 メートル単位です。注文数量5で5mを1本出荷いたします。 材質 重量
バリエーション
ブラック YK2K2401A
ネコポス梱包可能数 送料220円 8m
クリックポスト梱包可能数 送料248円 12m
宅急便梱包可能数 送料600円 制限なし
適合サッシ
商品名 タイプ 販売開始 廃止年




